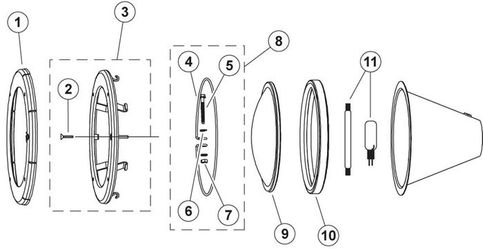
Pentair American Products Amerquartz Light