Waterco Micron Top Mount Series Sand Filter Models S500–S900
Sales: (480) 607-1900
| HOME
    • A&A Manufacturing
    • Blue Square Manufacturing
    • Polaris/Caretaker 99
    • Master Pools
    • Paramount Pool Products
    In-Floor Cleaning Systems
    • Automatic Controls
    • Automatic Pool Cleaners
    • Automatic Sanitizers
    • Audio Equipment
    • Main Drains
    • Pool Filters
    • Pool Heaters
    • Pool Lights
    • Pool Pumps
    • Salt Water Chlorine Systems
    • Skimmers
    • Valves
    • Vacuum Release System
    • Water Designs
    • Water Fill Systems
    Swimming Pool Equipment
    • Tubes and Pillows
    • Leaf Rakes and Eaters
    • Royal Mesh SC
    • Winter Covers
    • Winter Accessories and Plugs
    • Backwash Hoses
    • Winter Chemicals
    • Submersible Pumps
    Winterizing
    • Automatic Pool Cleaner Parts
    • Automatic Pool Cleaner Accessories
    • Automatic Chemical Feeder Parts
    • Chemical Generators Parts
    • Filter Parts and Accessories
    • Fittings
    • Generic O-Rings
    • Heater Parts and Accessories
    • Pool Control System Parts
    • Main Drain
    • Motors and Parts
    • Pool Light Parts and Accessories
    • Pool Pump Parts and Accessories
    • Safety Vacuum Release System Parts
    • Skimmers and Skim Filter Parts
    • Tools Service
    • Valves
    Pool Parts
    • Algaecides
    • Chlorine Tablets
    • Filter Media
    • Liquid Acid
    • Liquid Chlorine
    • Pool Salt
    • Shocks - Chlorine
    • Shocks - Non-Chlorine
    • Specialties
    Pool Chemicals
    • Auto Fills
    • Barb
    • Glue
    • Inlet/Outlet
    • Manifolds
    • Plumbing Supplies
    • Pipe
    • Primer
    • PVC
    • Suction
    • Tools Service
    • Union, Heater
    • Union
    • Valves
    Plumbing/Repair
    • Games
    • Goggles, Masks and Fins
    • Inflatables Riders
    • Lights & Sound
    • Mattresses and Lounges
    • Safety and Training Accessories
    • Toys, Tubes and Balls
    Pool Toys & Floats
    • Accessories
    • Brushes
    • Tools
    • Cabinet Restoration Kits
    • Chlorine Floats
    • Chemical Test Kits & Test Strips
    • Hoses
    • Nets
    • Pool Vacuums
    • Thermometers
    • Tile Scrubber
    • Handrails
    Pool Maintenance
    • Air Blowers and Accessories
    • Air Buttons and Accessories
    • Air Controls and Accessories
    • Air Injectors
    • Audio Equipment
    • Circuit Boards
    • Controls
    • Electrical
    • Equipment Systems
    • Filters and Accessories
    • Heaters and Parts
    • Jets and Parts
    • Lights and Light Parts
    • Motors and Parts
    • Ozonators
    • Plumbing
    • Pumps and Parts
    • Safety and Spa Accessories
    • Service Tools
    • Skimmers and Parts
    • Switches
    • Valves
    • Water Treatment
    Spa Equipment and Parts
Home > Pool Parts > Filter Parts and Accessories > Filters Sand > Waterco > Waterco Micron Top Mount Series Sand Filter Models S500–S900

Waterco Micron Top Mount Series Sand Filter Models S500–S900

Waterco Micron Top Mount Series Sand Filter Models S500–S900
#ModelImageProduct NamePrice
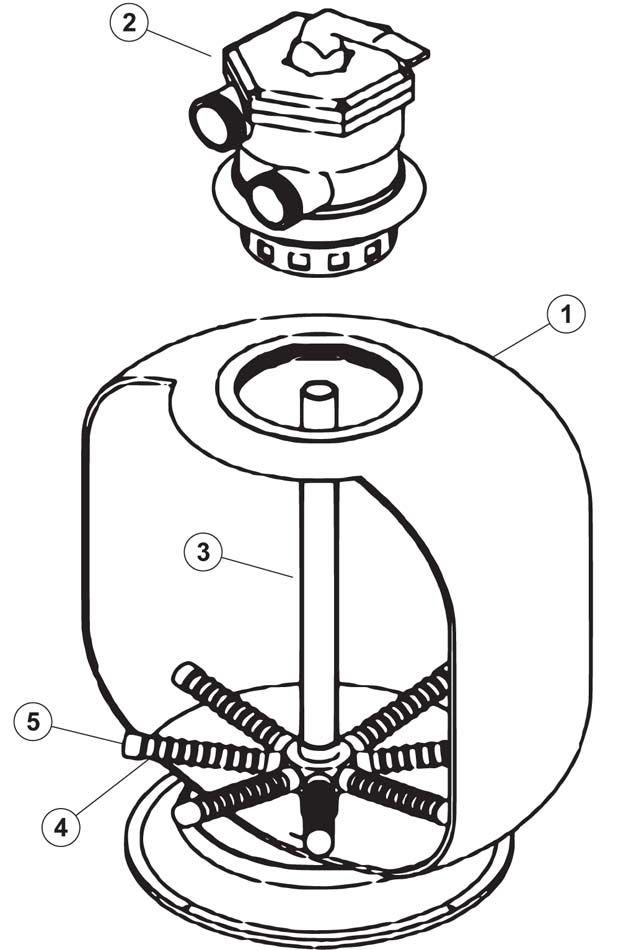
2WC228042PAWaterco Top Mount 1-1/2" Multiport Valve 6 Position # WC228042PAWaterco Top Mount 1-1/2" Multiport Valve 6 Position # WC228042PA
$326.99
2228053Waterco USA Multiport Valve Top Mount 2", Union Thds, Bolt Flange # WC228053Waterco USA Multiport Valve Top Mount 2", Union Thds, Bolt Flange # WC228053
$301.99
2W02068Waterco USA Valve To Tank O-ring, 1-1/2" Tm Multiport Valve # WCW02068Waterco USA Valve To Tank O-ring, 1-1/2" Tm Multiport Valve # WCW02068
$13.99
2W02571Waterco USA Valve Gasket 2? Tm Multiport Valve # WCW02571Waterco USA Valve Gasket 2? Tm Multiport Valve # WCW02571
$58.99
3W02163Waterco USA Center Tube W/hub 20? Tank # WCW02163Waterco USA Center Tube W/hub 20? Tank # WCW02163
$75.99
3W02164Waterco USA Center Tube W/hub 24? Tank # WCW02164Waterco USA Center Tube W/hub 24? Tank # WCW02164
$61.99
3W02166Waterco USA Center tube w/hub 30" tank # WCW02166Waterco USA Center tube w/hub 30" tank # WCW02166
$49.99
3W02168Waterco USA Center tube w/hub 36" tank # WCW02168Waterco USA Center tube w/hub 36" tank # WCW02168
$52.99
4W02111Waterco USA Lateral 3-1/2" (75mm) Standard Slot .012 # WCW02111Waterco USA Lateral 3-1/2" (75mm) Standard Slot .012 # WCW02111
$17.99
4W02112Waterco USA Lateral 4-1/2" (110mm) Standard Slot .012 # WCW02112Waterco USA Lateral 4-1/2" (110mm) Standard Slot .012 # WCW02112
$20.99
4W02113Waterco USA Lateral 5-1/2" (145mm) Standard Slot .012 # WCW02113Waterco USA Lateral 5-1/2" (145mm) Standard Slot .012 # WCW02113
$21.99
4W02114Waterco USA Lateral 8" (200mm) Standard Slot .012 # WCW02114Waterco USA Lateral 8" (200mm) Standard Slot .012 # WCW02114
$23.99
5W02117Waterco USA End Cap For Waterco Lateral # WCW02117Waterco USA End Cap For Waterco Lateral # WCW02117
$16.99
n/a634024BLKWaterco USA 2" Half Union For Pump # WC634024BLKWaterco USA 2" Half Union For Pump # WC634024BLK
$26.99

  • In-Floor Cleaning Systems
  • Swimming Pool Equipment
  • Winterizing
  • Pool Parts
    • Automatic Pool Cleaner Parts
    • Automatic Pool Cleaner Accessories
    • Automatic Chemical Feeder Parts
    • Chemical Generators Parts
    • Filter Parts and Accessories
    • Fittings
    • Generic O-Rings
    • Heater Parts and Accessories
    • Pool Control System Parts
    • Main Drain
    • Motors and Parts
    • Pool Light Parts and Accessories
    • Pool Pump Parts and Accessories
    • Safety Vacuum Release System Parts
    • Skimmers and Skim Filter Parts
    • Tools Service
    • Valves
  • Pool Chemicals
  • Plumbing/Repair
  • Pool Toys & Floats
  • Pool Maintenance
  • Spa Equipment and Parts

SALES:

1-480-607-1900

Subscribe to our newsletter

Order Info

Contact UsLocate UsAbout Us

Our Advantage

RebatesManufacturersCaretaker 99Testimonials

Help

TroubleshootingPrivacy & SecurityTerms & ConditionsCopyrights & TrademarksVendor RelationsSite Map

Shipping & Returns

OrderingDomestic ShippingInternational ShippingReturns & Exchanges


PayPal Acceptance Mark